Hawle Nierdzewny hydrant nadziemny H4 5140H4


Pobierz kartę PDF Zadaj pytanie

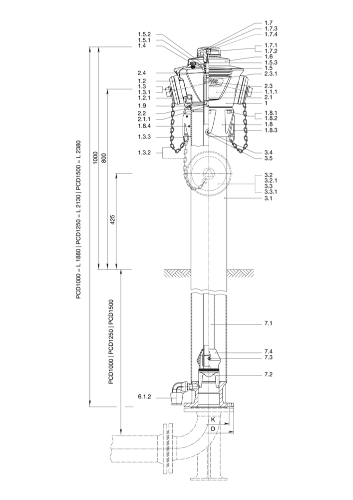
Cechy konstrukcyjne


  • Nowoczesny wygląd
  • Całość wykonana z materiałów odpornych na korozję
  • Uszczelnienie wrzeciona (O-ringi) osadzone ze wszystkich stron w materiale odpornym na korozję
  • Minimalny moment obrotowy uruchomienia (MOT < 80 Nm, mST > 250 Nm)
  • Krańcowy ogranicznik ruchu przy otwieraniu i zamykaniu hydrantów
  • Możliwość obrotu głowicy hydrantu od 0°do 360°
  • Bezproblemowa wymiana wszystkich części wewnętrznych bez konieczności odkopywania hydrantu
  • Samoczynne odwodnienie z odcięciem ciśnienia wody, czas odwodnienia <10 min
  • Kierunek otwarcia przeciwnie do wskazówek zegara
  • 15 obrotów do pełnego otwarcia
  • Możliwość przyłączenia rury odwadniającej PE Ø32 mm lub Hawle-rury odwadniającej nr kat. 5067
  • Możliwość wykonania nasady przyłączeniowej wg innych norm
  • Możliwe wykonania z większą ilością odejść i ich wysokości posadowienia na zapytanie
  • Głowica hydrantu dostępna w niestandardowych kolorach
  • Standardowa osłona rury: 1,50 m (opcjonalnie 1,25 m i 1,00 m)
  • Wartości natężenia przepływu: Natężenie przepływu Q (m3/h) przy różnicy ciśnień Kv [m3/h] wynoszącej 1 bar jest wyższe dla wszystkich hydrantów Hawle H4 niż wymagane przez normy ÖNORM F 2010 i EN 14384